Популярне
Бажаєте уточнити інформацію по інструменту?
Задати питання
Опис

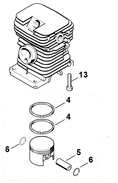
Двигун для бензопили Stihl MS 180

Включає циліндр з поршнем Ø 38 мм, компресійні кільця, палець, стопорні кільця, гвинти циліндра. 

Характеристики
Бренд
STIHL
Заповніть форму,

щоб замовити оригінальну
техніку STIHL

Переглянуті товари
Відгуки
0 відгуків
Ще не додано жодного відгуку.
Будьте першим, хто це зробить!
Залишити відгук